BL型扁袋式除塵器

機械振打清灰袋式除塵器 --BL型扁袋式除塵器
一、概述
采用扁袋組合式結構,拆裝便捷、可靠、體積小、過濾面積大。可靠的機械振打裝置,保證了除塵效果廣泛用于車床、砂輪機、拋光機、噴塑等設備除塵。
二、產品執行標注準:
JB/9055-1999《機械振動類袋式除塵器技術條件》
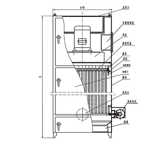
三、工作原理
含塵氣體進入箱體,經扁袋過濾器過濾,粉塵被阻擋在外表面,凈化后的氣體經風機、消聲器排出。濾袋工作一段時間后,外表面粘附的粉塵量增加,影響了除塵效果,此時開啟清灰機構工作,抖掉濾袋表面的集塵,使除塵器始終處于良好的工作狀態。落入抽屜中的粉塵定期清除。

型號及性能參數

BL型扁袋式除塵器 本文被閱讀 5483 次